Cuando Jorge Llames estaba en lo mas alto de la competición, tiraba con Pardini. Y antes que con esta, competía con una Match Guns de la que hablaba maravillas, hasta que se pusieron los italianos de por medio y "confesó" que la MG le daba poca confianza por el tema e interrupciones.
Ahora las últimas publicaciones que tiene por instagram (que ya tienen un año) son disfrutando como un enano con una GSP500 y haciendo puntuaciones increíbles.
Creo que si Walther se pusiese las pilas con el tema patrocinios/márketing, la GSP500 se vería mucho mas por las competiciones de alto nivel.
Creo que pasa algo similar en el pádel (salvando diferencias). Hay una marca que es Bullpadel que se ve en todas partes. Desde la alta competición hasta en las pistas de barrio mas modestas. Es el "rey" del padel. Pero.... tienen el mejor material???? 
La respuesta es NO. Ellos tienen muy buen material. De primera clase (y malo también tienen). Pero no destaca por encima de su competencia. Lo que pasa que a nivel marca, la gente que trabaja en márketing hacen un gran trabajo.
			
									
									Walther gsp 500
- shootersesp
- .30-06 
- Mensajes: 805
- Registrado: 20 Dic 2012 15:34
- Contactar:
- Estado: Desconectado
Re: Walther gsp 500
Cambiar de respuesta es evolución. Cambiar de pregunta es revolución.
						- Worn2destroy
- 9mm Parabellum 
- Mensajes: 98
- Registrado: 08 May 2023 10:01
- Ubicación: C. Valenciana
- Contactar:
- Estado: Desconectado
Re: Walther gsp 500
shootersesp escribió:Cuando Jorge Llames estaba en lo mas alto de la competición, tiraba con Pardini. Y antes que con esta, competía con una Match Guns de la que hablaba maravillas, hasta que se pusieron los italianos de por medio y "confesó" que la MG le daba poca confianza por el tema e interrupciones.
Ahora las últimas publicaciones que tiene por instagram (que ya tienen un año) son disfrutando como un enano con una GSP500 y haciendo puntuaciones increíbles.
Creo que si Walther se pusiese las pilas con el tema patrocinios/márketing, la GSP500 se vería mucho mas por las competiciones de alto nivel.
Creo que pasa algo similar en el pádel (salvando diferencias). Hay una marca que es Bullpadel que se ve en todas partes. Desde la alta competición hasta en las pistas de barrio mas modestas. Es el "rey" del padel. Pero.... tienen el mejor material????
La respuesta es NO. Ellos tienen muy buen material. De primera clase (y malo también tienen). Pero no destaca por encima de su competencia. Lo que pasa que a nivel marca, la gente que trabaja en márketing hacen un gran trabajo.
Desconozco el motivo real que le llevo al cambio de la Pardini por la GSP, pero lo que si sé es que la GSP 500 que lleva está fabricada a medida en su completitud, desde el cañón, al casete de disparo y evidentemente la empuñadura.
Tuve la oportunidad de verlo de cerca en la final de Rapid Fire de la mal llamada copa del rey y llevaba ni más ni menos que la gsp 500 roja y la NUEVA GSP500 R.F.
PD: A la próxima le pediré que me la preste unos tiritos

Re: Walther gsp 500
Buenas tardes a todos.
Lo primero, gracias por vuestras respuestas.
No conozco el mercado de las armas, porque acabo de llegar, pero si conozco muy bien el mercado de competición de esquí alpino.
De hecho, mis hijos y yo mismo, seguimos compitiendo. Imagino que en el tiro de alta competición, debe ser igual.
Los equipos de esquí tienen acuerdos con las marcas, de manera que un equipo "normalmente" tiene que esquiar con la marca que le toca. OJO, la excepción son los primeros 20 en copa del mundo, que tienen sus contratos particulares con las marcas, y ellos esquían con lo que quieren.
Los esquís de competición, pareciendo iguales a los que venden las tiendas, no tienen nada que ver. Adicionalmente, los esquís de los 60 primeros en copa del mundo se construyen con nombre y apellidos, es decir van tan personalizados que aunque "por fuera" parecen iguales, son totalmente diferentes por dentro entre ellos.
Los equipos de segundo nivel, también suelen tener acuerdos con las marcas, que les proporcionan el material a un precio muchísimo mas bajo que el de mercado.
Todas las marcas tienen un equipo dedicado a la competición, porque el feedback de un corredor tiene muchísimo mas valor que el feedback de un esquiador ocasional de fines de semana y un viaje de 5 días al año.
No solo es la publicidad de que sus marcas se vean en las carreras, que también, sino la ayuda al desarrollo de productos que supone tener corredores probando material.
Dicho esto, no me cabe la menor duda que en las armas debe ser igual.
Los tiradores de primer nivel, estarán patrocinados por las marcas, sus pistolas por dentro, no se deben parecer en nada a la misma pistola "comercial" que podemos encontrar en cualquier armería, y para las marcas es un prestigio que su logotipo aparezca en los grandes eventos.
Por eso me resulta tan extraño que solo una marca cope el sector de las pistolas de calibre 22.
En aire comprimido, está mucho mas diversificado, y puedes ver pistolas de distintos fabricantes.
Pero en Pistola Estandard/Pistola Rapida, solo se ve una marca, y el resto parece que no existe...
			
									
									
						Lo primero, gracias por vuestras respuestas.
No conozco el mercado de las armas, porque acabo de llegar, pero si conozco muy bien el mercado de competición de esquí alpino.
De hecho, mis hijos y yo mismo, seguimos compitiendo. Imagino que en el tiro de alta competición, debe ser igual.
Los equipos de esquí tienen acuerdos con las marcas, de manera que un equipo "normalmente" tiene que esquiar con la marca que le toca. OJO, la excepción son los primeros 20 en copa del mundo, que tienen sus contratos particulares con las marcas, y ellos esquían con lo que quieren.
Los esquís de competición, pareciendo iguales a los que venden las tiendas, no tienen nada que ver. Adicionalmente, los esquís de los 60 primeros en copa del mundo se construyen con nombre y apellidos, es decir van tan personalizados que aunque "por fuera" parecen iguales, son totalmente diferentes por dentro entre ellos.
Los equipos de segundo nivel, también suelen tener acuerdos con las marcas, que les proporcionan el material a un precio muchísimo mas bajo que el de mercado.
Todas las marcas tienen un equipo dedicado a la competición, porque el feedback de un corredor tiene muchísimo mas valor que el feedback de un esquiador ocasional de fines de semana y un viaje de 5 días al año.
No solo es la publicidad de que sus marcas se vean en las carreras, que también, sino la ayuda al desarrollo de productos que supone tener corredores probando material.
Dicho esto, no me cabe la menor duda que en las armas debe ser igual.
Los tiradores de primer nivel, estarán patrocinados por las marcas, sus pistolas por dentro, no se deben parecer en nada a la misma pistola "comercial" que podemos encontrar en cualquier armería, y para las marcas es un prestigio que su logotipo aparezca en los grandes eventos.
Por eso me resulta tan extraño que solo una marca cope el sector de las pistolas de calibre 22.
En aire comprimido, está mucho mas diversificado, y puedes ver pistolas de distintos fabricantes.
Pero en Pistola Estandard/Pistola Rapida, solo se ve una marca, y el resto parece que no existe...
Re: Walther gsp 500
Creo recordar que el compañero al que me refiero del equipo nacional y que tiraba con pardini, las que nos venden del 22Lr tienen 5 estrías y las suyas 6.
Además las recamaras estaban adaptadas a un tipo específico de munición y tenían que usar esa y no otra.
Todo es marketing, del mismo modo que el coche o la moto que compras, antiguamente en las motos de les llamaba " carrera -cliente " era el diseño de competición pero no era 100% el modelo de carreras, obvio.
			
									
									Además las recamaras estaban adaptadas a un tipo específico de munición y tenían que usar esa y no otra.
Todo es marketing, del mismo modo que el coche o la moto que compras, antiguamente en las motos de les llamaba " carrera -cliente " era el diseño de competición pero no era 100% el modelo de carreras, obvio.
a lo que tu llamas dolor y sufrimiento yo le llamo pasión y dedicación, cuando tu te rindes, yo comienzo...
						Re: Walther gsp 500
¿Es tan difícil aceptar que una pistola italiana es mejor que una alemana? 
			
									
									
						
- 
				Guillermo1967
- Fogueo 
- Mensajes: 8
- Registrado: 16 Sep 2024 10:11
- Contactar:
- Estado: Desconectado
Re: Walther gsp 500
Buenas tardes,
Yo soy un feliz propietario de una de ellas desde hace un mes aprox y la verdad es que encantado con ella, ni una interrupcion en mas de 2.000 disparos, agrupa muy bien, aunque me costo bastante ajustar las miras, pero una vez realizado dificil salirse del negro.
SAludos
			
									
									
						Yo soy un feliz propietario de una de ellas desde hace un mes aprox y la verdad es que encantado con ella, ni una interrupcion en mas de 2.000 disparos, agrupa muy bien, aunque me costo bastante ajustar las miras, pero una vez realizado dificil salirse del negro.
SAludos
Re: Walther gsp 500
A mi me da la impresión que bota mucho, o al menos a mi; en la fase rápida se van los disparos a todos sitios; 
me parece pesada; lleva dos contrapesos; y no se si quitarlos o ponerle mas, lo cierto es que no la domino.
			
									
									
						me parece pesada; lleva dos contrapesos; y no se si quitarlos o ponerle mas, lo cierto es que no la domino.

Re: Walther gsp 500
Pablo60 escribió:A mi me da la impresión que bota mucho, o al menos a mi; en la fase rápida se van los disparos a todos sitios;
me parece pesada; lleva dos contrapesos; y no se si quitarlos o ponerle mas, lo cierto es que no la domino.
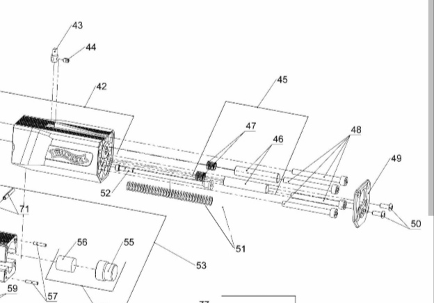
Retiras la tapa número 49 y accedes a las dos barras que hacen de contrapeso junto con sus muelles
Re: Walther gsp 500
ferdelrio escribió:Sabéis si existen cazavainas para la GSP500?, Gracias
Ya se empiezan a comercializar
Re: Walther gsp 500
ferdelrio escribió:ferdelrio escribió:Sabéis si existen cazavainas para la GSP500?, Gracias
Ya se empiezan a comercializar
Aquí las puedes comprar
https://ridonshop.com/
Miembro del Club de los Malos Tiradores
						Re: Walther gsp 500
Guiem_ escribió:ferdelrio escribió:ferdelrio escribió:Sabéis si existen cazavainas para la GSP500?, Gracias
Ya se empiezan a comercializar
Aquí las puedes comprar
https://ridonshop.com/
¿Ese cazavainas vale para la GSP500?
En la web pone sólo Walther GSP
¿Qué puntas del 32 SW para recarga irían mejor?
Estoy mirando éstas pero no sé cuál es la que tengo que comprar. La pólvora supongo que la vectan BA10.
H&N 32 WC HB .313 100 gr L
H&N 32 WC HB .314 100 gr L
H&N 32 WC HB .314 90 gr L
¿313 o 314 ?
¿90 gr o 100 gr ?
¿Mejor estas que las cobreadas (.314 100 gr) ?
¿Quién está conectado?
Usuarios navegando por este Foro: No hay usuarios registrados visitando el Foro y 34 invitados







